葡萄要补硒吗(葡萄富硒)

本发明涉及植保领域,特别是一种葡萄枝条诱根定向补硒补锌的方法及其装置。
背景技术:
葡萄(VitisviniferaL.)在植物学分类中属于葡萄科(VitaceaeLindley或AmpelideaeKunih)葡萄属(VitisL.)的藤本浆果。葡萄科中有12个属,约600个种。葡萄是最古老的被子植物之一,起源于欧、亚大陆和北美洲的连片地区。主要栽培类型则起源于中亚西亚一带,随着人类文化和经济交流逐渐扩展到欧洲乃至世界各地。主要分布于世界的温带、亚热带、热带地区。本科植物多数是攀缘藤本,少数为灌木、小乔木及草本植物。主要野生于森林、山坡或河谷等地。葡萄科中只有葡萄属有较高的经济价值,并且得到广泛的栽培和较深入的研究,葡萄是一种营养价值较高的浆果,是国际市场上重要的商品。葡萄在生活中主要的消费途径是做水果和酿造红酒,因此需求量日益增加,这就带动了葡萄种植业的繁荣。如何种植出高产和高质量的葡萄是葡萄种植业永恒的课题。葡萄多数是攀缘藤本,这就使得葡萄果在远根端和近根端的水分、养分的吸收有着明显的区别,从而影响了葡萄的产量和整体的品质。
技术实现要素:
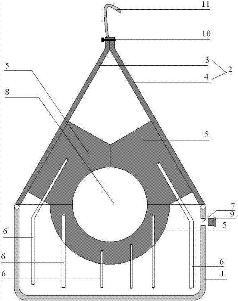
为了解决葡萄果在远根端和近根端的水分、养分的吸收有着明显的区别,从而影响了葡萄的产量和整体的品质的问题,本发明提供一种葡萄诱根定向补养的方法及其装置,通过本方法在葡萄果最近枝条上的芽眼处,用本发明的施用装置给芽眼处补养,使得葡萄枝条的芽眼诱发不定根,从而吸收水分和养分,更好的给远根端的葡萄果供养和水分。本发明的目的是通过以下技术方案来实现的:本发明的一种葡萄枝条诱根定向补硒补锌的方法,所述方法包括以下步骤:步骤一,将葡萄枝条芽眼用纯净水冲洗干净,再分别用95%的酒精和25%的多菌灵擦拭,灭菌;步骤二,将灭菌后的芽眼浸润诱导生根液中,浸润3-5天;所述诱导生根液包括吲哚丁酸钾6-10ppm、油菜内酯素3-5ppm;步骤三,向诱导生根液中加入5倍营养液,并根据消耗情况,及时进行补充,直至葡萄成熟;所述营养剂,其组分为以下原料按重量份组成:氮肥11份、磷肥6份、钾肥45份、微量元素肥3份、纳米有机硒生物制剂稀释液2份、纳米有机锌生物制剂稀释液2份、多菌灵0.02份、吲哚丁酸钾稀释液2份、油菜内酯素稀释液1份、水若干;所述吲哚丁酸钾稀释液为吲哚丁酸钾的10ppm浓度的水溶液;所述油菜内酯素稀释液为油菜内酯素的10ppm浓度的水溶液;所述纳米有机硒生物制剂稀释液为纳米有机硒生物制剂稀释液的1ppm浓度的水溶液;所述纳米有机锌生物制剂稀释液为纳米有机锌生物制剂稀释液的1ppm浓度的水溶液。优选的,所述步骤二中,使用营养液补充诱导生根液的消耗量,并最终完成营养液对诱导生根液的置换。本发明的一种葡萄枝条诱根定向补硒补锌的…
