富硒大米编织袋(大米编织袋生产机器)

本实用新型涉及大米的包装领域,具体为一种富硒大米用包装袋。
背景技术:
包装袋是指用于包装各种用品的袋子,使货物在生产流通过程中方便运输,容易存储。广泛用于日常生活和工业生产中。实际数字显示,有80%使用后的塑料袋,最终与一般垃圾一样被运至垃圾堆田区处理,仅有百分之七的塑料被回收循环使用。富硒大米是通过在种植稻米时候的补硒,从而生长出富含硒的大米。属于功能性农产品,是富含硒的食物,具有较高的营养价值。
现有的装置存在以下不足:1、传统的包装袋不易打开和关闭;2、传统的包装袋不具备在不损坏包装袋的情况下快速查看产品信息的功能。
技术实现要素:
本实用新型的目的在于提供一种富硒大米用包装袋,以解决上述背景技术中提出的问题。
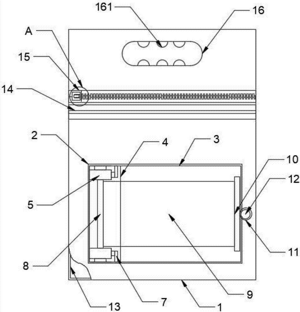
为实现上述目的,本实用新型提供如下技术方案:一种富硒大米用包装袋,包括第一袋体、第二袋体,所述第一袋体的表面开设只有安装孔,所述安装孔的内侧固定设置有固定件,所述固定件的一侧固定设置有安装件,所述安装件的内部两端通过轴承分别活动安装有发条盒,两个所述发条盒的内侧分别活动安装有发条,两个所述发条的一端分别与发条盒中部固定连接,两个所述发条远离发条盒的一端分别固定设置有连接件,两个所述连接件分别固定设置在安装件的内部上下端,两个所述发条盒之间通过连接杆固定连接,所述连接杆的而一侧固定设置有广告纸,所述广告纸远离连接杆的一端固定设置有阻挡件,所述阻挡件远离广告纸的一侧固定设置有固定环,所述固定件远离安装件的而一侧固定设置有与固定环相匹配的限位柱,所述固定环与限位柱之间配合连接,所述第二袋体固定设置在第一袋体的内侧。
优选的,所述第一袋体的内部上端两侧分别固定设置有封口条。
优选的,所述第一袋体的上端外侧表面固定设置有拉链,所述拉链包括链齿、拉链头,所述链齿固定设置在第一袋体的外侧表面,所述拉链头活动安装在链齿的外侧,所述链齿靠近安装件的而一侧活动安装有限位件。
优选的,所述第一袋体的外侧表面拉链的上端固定设置有提手,所述提手的内侧固定设置有防滑件。
优选的,所述第一袋体分别与拉链、封口条、固定件之间通过针线缝合。
与现有技术相比,本实用新型的有益效果是:
1、本实用新型通过设置发条、连接杆,当第一袋体、第二袋体的内侧装满大米后,需要检查或客户查看大米的成色或信息时,可以通过将固定环从限位柱上取下,由于当固定环在限位柱上时,发条是处于收紧状态,当固定环从限位柱上取下后,发条会由于弹性返回原有的状态,从而带动连接杆的而转动,进而带动广告纸在连接杆上缠绕,当检查或客户查看大米的成色或信息完成后,通过抽拉固定环将发条再次成为收紧状态,将广告纸覆盖固定件表面,既美观有部妨碍检查或客户查看大米的成色或信息。
2、本实用新型通过设置封口条,可以快速打开和关闭,且具有一定的密封效果保证内部产品的质量,通过设置拉链,当需要取用产品时,可以将限位取下,在拉动拉链头将产品取出,同时拉链对封口条有一个二次防护的作用,当封口条没有闭合时,拉链是关闭的这样内部产品也不会流出,同时限位件在产品运输的过程中保证了拉链不会意外打开导致产品流出,通过设置提手,便于搬运,设置防滑件防止产品从手中意外滑落,通过设置第二袋体对产品有一定的保持作用。
附图说明
图1为本实用新型一种富硒大米用包装袋整体结构示意图;
图2为本实用新型一种富硒大米用包装袋图1中A处的放大视图;
图3本实用新型一种富硒大米用包装袋发条、发条盒的安装视图。
图中:1-第一袋体;2-安装孔;3-固定件;4-安装件;5-发条盒;6-发条;7-连接件;8-连接杆;9-广告纸;10-阻挡件;11-固定环;12-限位柱;13-第二袋体;14-封口条;15-拉链;151-链齿;152-拉链头;153-限位件;16-提手;161-防滑件。
具体实施方式
下面将结合本实用新型实施例中的附图,对本实用新型实施例中的技术方案进行清楚、完整地描述,显然,所描述的实施例仅仅是本实用新型一部分实施例,而不是全部的实施例?;诒臼涤眯滦椭械氖凳├?,本领域普通技术人员在没有做出创造性劳动前提下所获得的所有其他实施例,都属于本实用新型保护的范围。
请参阅图1-3,本实用新型提供一种技术方案:一种富硒大米用包装袋,包括第一袋体1、第二袋体13,所述第一袋体1的表面开设只有安装孔2,所述安装孔2的内侧固定设置有固定件3,所述固定件3的一侧固定设置有安装件4,所述安装件4的内部两端通过轴承分别活动安装有发条盒5,两个所述发条盒5的内侧分别活动安装有发条6,两个所述发条6的一端分别与发条盒5中部固定连接,两个所述发条6远离发条盒5的一端分别固定设置有连接件7,两个所述连接件7分别固定设置在安装件4的内部上下端,两个所述发条盒5之间通过连接杆8固定连接,所述连接杆8的而一侧固定设置有广告纸9,所述广告纸9远离连接杆8的一端固定设置有阻挡件10,所述阻挡件10远离广告纸9的一侧固定设置有固定环11,所述固定件3远离安装件4的而一侧固定设置有与固定环11相匹配的限位柱12,所述固定环11与限位柱12之间配合连接,所述第二袋体13固定设置在第一袋体1的内侧。
所述第一袋体1的内部上端两侧分别固定设置有封口条14,可以快速打开和关闭,且具有一定的密封效果保证内部产品的质量;所述第一袋体1的上端外侧表面固定设置有拉链15,所述拉链15包括链齿151、拉链头152,所述链齿151固定设置在第一袋体1的外侧表面,所述拉链头152活动安装在链齿151的外侧,所述链齿151靠近安装件4的而一侧活动安装有限位件153,通过设置拉链15对封口条14有一个二次防护的作用;所述第一袋体1的外侧表面拉链15的上端固定设置有提手16,所述提手16的内侧固定设置有防滑件161,便于搬运,设置防滑件161防止产品从手中意外滑落;所述第一袋体1分别与拉链15、封口条14、固定件3之间通过针线缝合,便于装置的连接。
工作原理:使用时,当第一袋体1、第二袋体13的内侧装满大米后,需要检查或客户查看大米的成色或信息时,可以通过将固定环11从限位柱12上取下,由于当固定环11在限位柱12上时,发条6是处于收紧状态,当固定环11从限位柱12上取下后,发条6会由于弹性返回原有的状态,从而带动连接杆8的而转动,进而带动广告纸9在连接杆8上缠绕,当检查或客户查看大米的成色或信息完成后,通过抽拉固定环11将发条6再次成为收紧状态,将广告纸9覆盖固定件3表面,既美观有部妨碍检查或客户查看大米的成色或信息,通过设置封口条14,可以快速打开和关闭,且具有一定的密封效果保证内部产品的质量,通过设置拉链15,当需要取用产品时,可以将限位取下,在拉动拉链头152将产品取出,同时拉链15对封口条14有一个二次防护的作用,当封口条14没有闭合时,拉链15是关闭的这样内部产品也不会流出,同时限位件153在产品运输的过程中保证了拉链15不会意外打开导致产品流出,通过设置提手16,便于搬运,设置防滑件161防止产品从手中意外滑落。
需要说明的是,在本文中,诸如第一和第二等之类的关系术语仅仅用来将一个实体或者操作与另一个实体或操作区分开来,而不一定要求或者暗示这些实体或操作之间存在任何这种实际的关系或者顺序。而且,术语“包括”、“包含”或者其任何其他变体意在涵盖非排他性的包含,从而使得包括一系列要素的过程、方法、物品或者设备不仅包括那些要素,而且还包括没有明确列出的其他要素,或者是还包括为这种过程、方法、物品或者设备所固有的要素。
尽管已经示出和描述了本实用新型的实施例,对于本领域的普通技术人员而言,可以理解在不脱离本实用新型的原理和精神的情况下可以对这些实施例进行多种变化、修改、替换和变型,本实用新型的范围由所附权利要求及其等同物限定。
继续阅读
- 暂无推荐
