富硒大米生产技术要求(富硒大米的种植过程和方法)
一种绿色有机富硒大米的种植方法,包括泡种、育秧、田间管理、施肥等,采用面包醒发箱催芽,利用面包醒发箱温湿度可控且适中催芽效果好,成本相比同效果的催芽机更低廉,还利用本地富硒土壤制备有机土和生态有机肥,提高富硒水稻产量,提高大米含硒量,富硒水稻产量达6吨/公顷,显著提高富硒大米的产量。
A method of planting green organic selenium rich rice
A method of planting green organic selenium rich rice, including global species, seedling, field management, fertilization, the bread proofing boxes by germination, bread fermentation box temperature and humidity controlled and moderate effect of germination, germination machine cost compared with the effect of the cost and preparation of organic soil and ecological organic fertilizer using local rich Selenium in soil system, improve rice yield, improve the selenium content of selenium enriched rice, rice yield of 6 tons / hectare, increase the yield of selenium enriched rice.
全部详细技术资料下载

【富硒大米技术实现步骤摘要】
一种绿色有机富硒大米的种植方法
本专利技术涉及农业领域,特别涉及一种绿色有机富硒大米的种植方法。
技术介绍

纯天然富硒米自然是从富硒土壤里长出来的。整个的生物过程:主要是来自土壤中的可溶性硒酸盐、亚硒酸盐等,通过植物根部被吸收,然后,进入植物的内循环系统,通过根-茎-叶-颖壳/籽粒的路径,参与了蛋白质的合成,最后,来自土壤的离子状态的硒,被以含硒蛋白的形式保存在种子里。土壤硒的含量不同会造成各地食品中硒含量的极大差异。土壤含硒量在0.6毫克/千克以下,就属于贫硒土壤,我国72%的国土都属贫硒或缺硒土壤,长期摄入严重缺硒食品,必然会造成硒缺乏疾??!因为硒本身所含的特殊营养价值,使得富硒大米的营养价值更高,通常,每人每日硒正常摄入量不应低于50微克,而普通大米含硒量极低,无法满足人体正常需要。我国《营养学报》曾报道介绍,全国72%地区属于缺硒或低硒地区,2/3以上人口不同程度的存在硒摄入不足。缺硒人群会导致心血管疾病、高血压、肝病、近视、哮喘、肿瘤、癌症等发生。目前市场上也有农户和厂家在研究富硒大米的种植方法,下面是我们检索到相关的专利文献:专利1,名称:一种富硒大米的培育方法;申请号:2.X;申请日期:2014-06-26;申请人:重庆皇华种业股份有限公司;摘要:一种富硒大米的培育方法。
具体包括:选择巴斯马蒂水稻品种作为育种种源,选择叶面有机硒肥作为硒肥,在水稻生长进入到孕穗期和灌浆期各喷一次硒肥。通过实施本专利技术,克服了富硒大米仅能通过土壤含硒量丰富的地方才能生产富硒大米的缺陷。同时,通过喷施叶面施硒肥所生产出来的富硒米含硒量还要高一点。此外,通过实施本专利技术,是普通大米变成优质、保健的高品质大米,可以使人们在习以为常的进食当中得到补硒,并使大米大幅度增值,效益亦显著提高。专利2,名称:一种富硒大米的种植方法;申请号:2.0;申请日期:2015-03-13;申请人:高煜昕高建军;摘要:一种富硒大米的种植方法,所述富硒大米按照正常大米的培育方法进行,所述种植方法还包括:取有机富硒复合液,与清水按1:50质量体积比混合,得有机富硒复合溶液,在大米生长培育过程中的分蘖期、孕穗期以及灌浆前期各喷洒一次所述的有机富硒复合溶液,每升有机富硒复合液中有机硒含量为200~240mg。大米种植过程中,在喷洒稀释后的有机富硒复合液后,每亩大米产量可达到1200斤以上,每公斤大米中的硒含量≥200μg,较普通大米提高10倍以上。专利3,名称:一种有机富硒大米种植方法;申请号:2.3;申请日期:2016-08-25;申请人:隆回县发达富硒农业发展有限公司;摘要:本专利技术公开了一种有机富硒大米种植方法,其方法包括以下步骤:晚稻收割完后,将稻田的四周和中间挖出田字形的排水沟,将稻田里余水排??;在十月期间,在稻田里均匀播撒绿肥种子,让其生长为绿肥草;次年四月,将稻田放水后翻田,将泥土表面的绿肥草翻到泥土内,静置一个月待绿肥草腐烂后,再次翻田耙平,然后在耙平的泥土上均匀播撒秧苗,播秧半个月内保持稻田内存水10厘米,半个月至一个月内保持15厘米存水,一个月后将水放尽,保持一个月后将稻田内浇水,直至禾苗成熟;当稻穗发黄后,将稻田内的余水全部放尽,半个月后收割稻子。本专利技术的有机富硒大米绿色健康无公害,同时也保证了微量元素、营养物质的有效吸收。目前记载的富硒大米种植方法基本采用配置富硒农药或营养液的方式,在种植过程中喷淋使水稻吸收后,提高大米含硒量,这些方法没有提及如何避免水稻病虫害,且单纯的添加富硒农药或营养液既不环保,大米的含硒量也不能满足人体每日所需。
技术实现思路
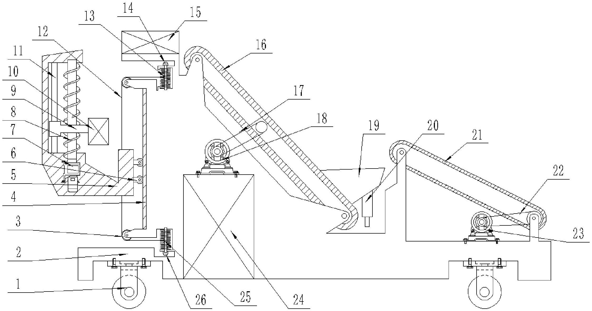
本专利技术的目的是为解决上述问题,提供一种绿色有机富硒大米的种植方法。一种绿色有机富硒大米的种植方法,其特征在于,包括以下步骤:(1)用浓度5-8%的食盐水浸泡秧苗消毒10-15分钟,重复消毒过程18-24小时,直至长出2-5mm高的芽后装袋;(2)将装袋的嫩芽放入温度为20-25℃,湿度为30-40%的催芽室内,催芽24-48小时;(3)将催发的种芽倒入播种机中,播种机按照先撒有机土,再撒种芽,最后再盖一层有机土的工序播种,每道工序都喷淋一次清水;(4)种芽在托盘内24-48小时后送入育芽架炼苗24-48小时;(5)将炼苗后的种芽移至田内,插秧待禾苗返青后喷施一次含硒叶面喷施肥,和一次生态农家肥,杨花再在施一次含硒叶面喷施肥,有机Se≥6.0g/L,将含硒叶面喷施肥稀释500倍后,根据土壤含硒情况决定喷施量。所述的含硒叶面喷施肥是每升含硒,有机Se≥6.0g/L;采用氨基酸络合硒,从地方的农业推广站购买。所述的有机土制备过程如下,将草木灰、木糠和塘泥按照重量份数比1:1:1混合后加入总重量1%的EM菌,发酵24-48小时。所述的生态农家肥的制备过程如下,将猪粪、牛粪、鸡粪、草木灰和谷壳任意比例混合后加入总重量0.5-1%的酵母菌和EM菌发酵3-6个月,酵母菌和EM菌比例1:1。

(菌种重量含量)本专利技术技术方案说明:本专利技术人在多年从事水稻研究和种植工作过程中,发现水稻秧苗经过食盐水浸泡脱毒后,患病率降低30%;面包醒发箱由于温湿度可控,催芽效果经过实验比一般的催芽机效果催芽率提高40%以上,且价格适中,可以降低整体成本。本专利技术选用草木灰、木糠和塘泥制备有机土,为什么要加草木灰,因为草木灰富含钾元素,可以使得秧苗更壮,插秧时更容易复苏,而且草木灰含碱性有防治病虫害和防腐作用,加入木糠使得土质松软,有机物容易生产生长,塘泥是一种富含有机质的土壤,可以提供秧苗足够的营养。这方面是公开文献未见报道过的,再有木灰是用谷壳、秸秆等植物废料燃烧后得到,含有丰富的矿质元素,但是草木灰质轻,容易被风或水带走,所以本专利技术利用木糠和塘泥与草木灰混合,起到锁住肥率的效果,猪粪、牛粪、鸡粪加入草木灰能够防虫,除去部分臭味,再加上酵母菌和EM菌发酵,将提供植物需要的有用成分和减轻环境污染有较好的作用。本专利技术选用贵港港南区本地土壤,该土壤中本身含有硒元素,经过专业的检测部门检测,本专利技术所用的土壤中含有0.58%的硒元素,配合上述的有机土育苗和生态有机肥,有效减少病虫害,肥料足,与传统富硒大米种植方法相比能够增产50%以上,且大米含硒量较高。
硒是人体不可缺少的微量元素,具有抗氧化、?;ば难堋⒔舛尽⒁种瓢┫赴氨;な泳跗鞴俚确矫娴淖饔?。它是红细胞中的抗氧化剂-谷胱甘肽过氧化酶的重要成分,充分的硒可促使谷胱甘肽过氧化酶有效地将人体内的过氧化氢转变成水。本专利技术的显著有益效果是:(1)本专利技术采用天然生态的原料制备有机土和生态有机肥,经过发酵处理的有机土和生态有机肥,肥料固化率高,无异味,富硒水稻产量达6吨/公顷,显著提高富硒大米的产量。(2)本专利技术采用面包醒发箱催芽,利用面包醒发箱温湿度可控且适中催芽效果好,成本相比同效果的催芽机更低廉。(3)本专利技术采用贵港港南区本地的富硒土壤作为原料,从土壤和肥料两个方面双管齐下,保证大米的含硒量,所用富硒土壤的含硒量经过相关检测部门检测,含硒量高达0.58%。申请人在此还要声明:我们是一家研发种植农产品的科技型企业,几年来在研究和开发富硒米种植做出了很多产品,目前有的产品已经经过试验和检验,即将投入市场,同日申请
【技术?;さ恪?/strong>
一种绿色有机富硒大米的种植方法,其特征在于,包括以下步骤:用浓度5?8%的食盐水浸泡秧苗消毒10?15分钟,重复消毒过程18?24小时,直至长出2?5mm高的芽后装袋;将装袋的嫩芽放入温度为20?25℃,湿度为30?40%的催芽室内,催芽24?48小时;将催发的种芽倒入播种机中,播种机按照先撒有机土,再撒种芽,最后再盖一层有机土的工序播种,每道工序都喷淋一次清水;种芽在托盘内24?48小时后送入育芽架炼苗24?48小时;(5)将炼苗后的种芽移至田内,插秧待禾苗返青后喷施一次含硒叶面喷施肥,和一次生态农家肥,杨花再在施一次含硒叶面喷施肥,有机Se≥6.0g/L,将含硒叶面喷施肥稀释500倍后,根据土壤含硒情况决定喷施量。

【技术特征摘要】
1.一种绿色有机富硒大米的种植方法,其特征在于,包括以下步骤:用浓度5-8%的食盐水浸泡秧苗消毒10-15分钟,重复消毒过程18-24小时,直至长出2-5mm高的芽后装袋;将装袋的嫩芽放入温度为20-25℃,湿度为30-40%的催芽室内,催芽24-48小时;将催发的种芽倒入播种机中,播种机按照先撒有机土,再撒种芽,最后再盖一层有机土的工序播种,每道工序都喷淋一次清水;种芽在托盘内24-48小时后送入育芽架炼苗24-48小时;(5)将炼苗后的种芽移至田内,插秧待禾苗返青后喷施一次含硒叶面喷施肥,和一次生态农家肥,杨花再在施一次含硒叶面喷施肥,有机Se≥6.0g/L,将含硒叶面喷施肥稀释500倍…
【专利技术属性】
技术研发人员:梁英,

