如何种出富硒大米种子(富硒大米种植技术)

本技术涉及农产品种植,具体为一种富硒农产品种植用优质种子筛选装置。
背景技术:
1、农产品,是农业生产中的物品,如大米、玉米、高粱、花生、小麦以及各个地区土特产等,国家规定初级农产品是指农业活动中获得的植物、动物及其产品,不包括经过加工的各类产品,而其中含有丰富硒元素的则称为富硒农产品。在富硒农产品种植过程中,需要选择优质种子增加其发芽率,于是使用筛选装置对种子进行筛选。
2、而筛选装置于使用过程中,通过振动的筛网对不同大小的种子进行筛选,从而选出较大的种子进行种植,而现有筛选装置于使用过程中,仅通过筛网对种子的外观进行筛选,从而无法保证种子于筛选过程中的准确性。为此,提出一种富硒农产品种植用优质种子筛选装置以解决上述问题。
技术实现思路
1、本实用新型的目的在于提供一种富硒农产品种植用优质种子筛选装置,以解决上述背景技术中提出的现有的筛选装置于使用过程中,仅通过筛网对种子的外观进行筛选,从而无法保证种子于筛选过程中的准确性的问题。
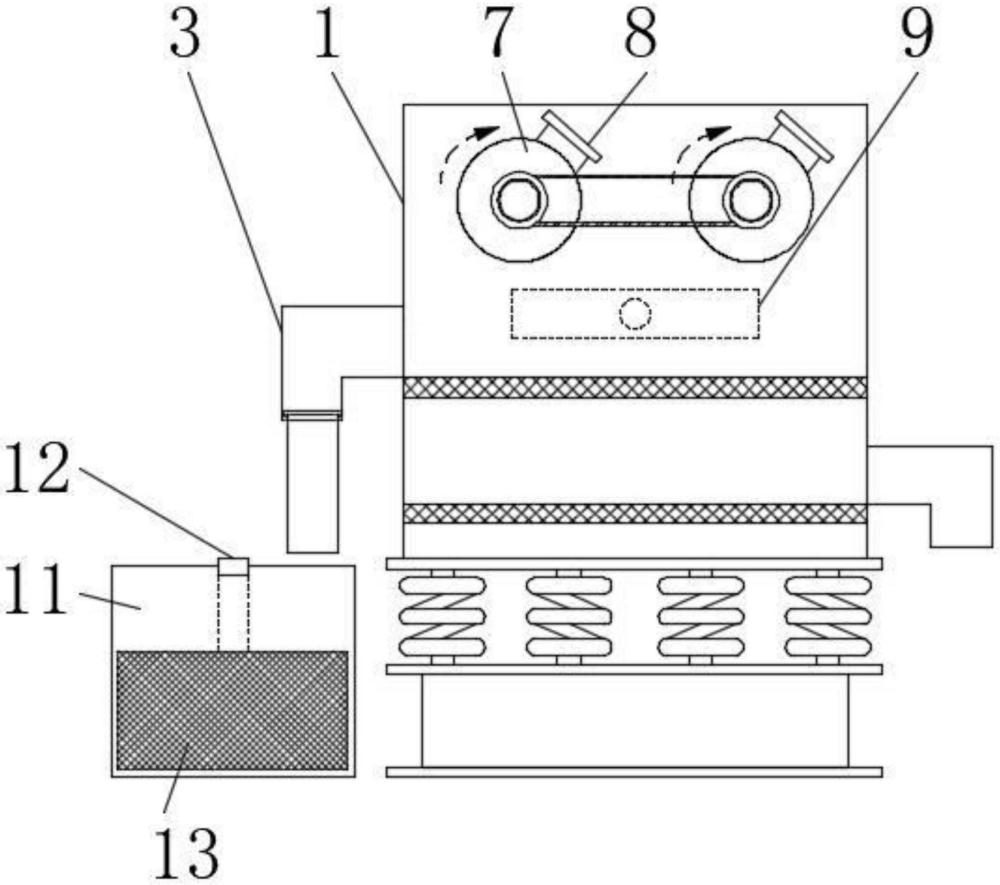
2、为实现上述目的,本实用新型提供如下技术方案:一种富硒农产品种植用优质种子筛选装置,包括机身,所述机身于内部分别设有两组筛网,且筛网的侧面于机身的外壁对应设有第一出料管,所述筛网的下方于机身的内部设有振动电机,所述机身靠上方于内壁固定设有伺服电机,且伺服电机上设有输出轴,所述输出轴上套设驱动齿轮,且驱动齿轮的右侧对应设有从动齿轮,所述驱动齿轮、从动齿轮于外壁套有传动带,且从动齿轮于内部穿插有转杆,所述输出轴、转杆的另一端分别连接置物筒,且置物筒的另一端同样连接转杆,所述置物筒于上端面分别开设有投料口;
3、所述机身的内部于筛网的上方分别设有两组l形支撑杆,且两组l形支撑杆之间连接抽风口,所述抽风口的后方连接抽风管,且抽风管的另一端于机身的外部连接抽风装置,所述抽风口于前方设有滤网;
4、所述机身的左侧于外部放置有蓄水箱,且蓄水箱于内部放置有置物斗,所述置物斗于前、后方分别设有挂钩,且挂钩的上方卡合于蓄水箱上,所述蓄水箱靠底部于外壁设有固定块,且固定块上开设有螺旋孔,所述螺旋孔内螺旋有进水管,所述蓄水箱上方的第一出料管内穿插有第二出料管。
5、优选的,所述置物筒在伺服电机的作用下通过输出轴、转杆与机身构成旋转结构,且输出轴通过驱动齿轮、从动齿轮、传动带与转杆构成联动结构。
6、优选的,所述抽风口在抽风装置的驱动下通过抽风管、滤网与机身的内部构成抽吸结构。
7、优选的,所述置物斗为镂空结构,且进水管的外壁设有与螺旋孔相契合的螺纹,且进水管通过螺纹孔与固定块构成螺旋锁紧结构。
8、优选的,所述置物斗通过挂钩与蓄水箱构成悬挂结构,且第二出料管与第一出料管构成滑动伸缩结构。
9、与现有技术相比,本实用新型的有益效果是:该富硒农产品种植用优质种子筛选装置的置物筒在伺服电机的作用下通过输出轴、转杆与机身构成旋转结构,且输出轴通过驱动齿轮、从动齿轮、传动带与转杆构成联动结构,从而在不影响机身内部投料效率的同时,避免内部种子投料过多影响其筛选效率,该装置的抽风口在抽风装置的驱动下通过抽风管、滤网与机身的内部构成抽吸结构,从而于种子筛选过程中通过适当的风力对较轻的种子进行筛除,该装置的置物斗为镂空结构,且进水管的外壁设有与螺旋孔相契合的螺纹,且进水管通过螺纹孔与固定块构成螺旋锁紧结构,从而对筛选后的优质种子进行水选,进一步保证了筛选后种子的优质性。
技术特征:
1.一种富硒农产品种植用优质种子筛选装置,包括机身(1),所述机身(1)于内部分别设有两组筛网(2),且筛网(2)的侧面于机身(1)的外壁对应设有第一出料管(3),所述筛网(2)的下方于机身(1)的内部设有振动电机,其特征在于:所述机身(1)靠上方于内壁固定设有伺服电机(4),且伺服电机(4)上设有输出轴,所述输出轴上套设驱动齿轮,且驱动齿轮的右侧对应设有从动齿轮,所述驱动齿轮、从动齿轮于外壁套有传动带(6),且从动齿轮于内部穿插有转杆(5),所述输出轴、转杆(5)的另一端分别连接置物筒(7),且置物筒(7)的另一端同样连接转杆(5),所述置物筒(7)于上端面分别开设有投料口(8);
2.根据权利要求1所述的一种富硒农产品种植用优质种子筛选装置,其特征在于:所述置物筒(7)在伺服电机(4)的作用下通过输出轴、转杆(5)与机身(1)构成旋转结构,且输出轴通过驱动齿轮、从动齿轮、传动带(6)与转杆(5)构成联动结构。
3.根据权利要求1所述的一种富硒农产品种植用优质种子筛选装置,其特征在于:所述抽风口(9)在抽风装置的驱动下通过抽风管(10)、滤网与机身(1)的内部构成抽吸结构。
4.根据权利要求1所述的一种富硒农产品种植用优质种子筛选装置,其特征在于:所述置物斗(13)为镂空结构,且进水管(15)的外壁设有与螺旋孔相契合的螺纹,且进水管(15)通过螺纹孔与固定块(14)构成螺旋锁紧结构。
5.根据权利要求1所述的一种富硒农产品种植用优质种子筛选装置,其特征在于:所述置物斗(13)通过挂钩(12)与蓄水箱(11)构成悬挂结构,且第二出料管(16)与第一出料管(3)构成滑动伸缩结构。
技术总结
本技术公开了一种富硒农产品种植用优质种子筛选装置,包括机身,所述机身于内部分别设有两组筛网,且筛网的侧面于机身的外壁对应设有第一出料管,所述筛网的下方于机身的内部设有振动电机,所述机身靠上方于内壁固定设有伺服电机,且伺服电机上设有输出轴。该富硒农产品种植用优质种子筛选装置的置物筒在伺服电机的作用下通过输出轴、转杆与机身构成旋转结构,且输出轴通过驱动齿轮、从动齿轮、传动带与转杆构成联动结构,从而在不影响机身内部投料效率的同时,避免内部种子投料过多影响其筛选效率,该装置的抽风口在抽风装置的驱动下通过抽风管、滤网与机身的内部构成抽吸结构,从而于种子筛选过程中通过适当的风力对较轻的种子进行筛除。
技术研发人员:牛会彬,牛文士
受?;さ募际跏褂谜撸菏易蚧闩┮悼萍加邢薰?/p>
技术研发日:20231121
技术公布日:2024/7/11
继续阅读
- 暂无推荐
